[ Поиск ] [ Регистрация ] [ Пользователи ] [ Вход ]

  Список форумов ›››› Железки ›››› Просмотр темы

Длина болтов во втулках NS, Dartmoor и т.д.

Автор Сообщение
 Aleccio

На сайте с 02.06.2007
Репутация: 595
Сообщений 822
Пол: Мужской(29)
Город: Киев
Стиль: MTB:Street
Байк: Каманьчь
1 авг 2014 в 23:08

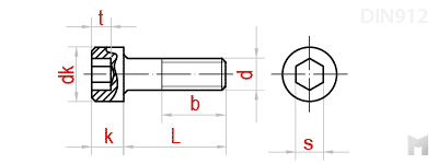
Добрый вечер всем, хочу переделать свою втулку на гайках под болты. Пока что на руках болтов нет, но уже хочу сделать чертеж оси. Вопрос к владельцам втулок нс, дартмур и подобных, скажите пожалуйста какая длина болта (L и b)?
din-912.png

Так же буду благодарен если кто то знает где в украине купить болты от этих втулок (хотелось бы оригинал а не базар). Либо может кто-то продает?)

Я тут кое чего продаю, все стритовое, крутое, заходи. [ Ссылка ]
Cсылка на пост
0
Поделиться:
VKontakte Facebook
 Adict

На сайте с 09.01.2012
Репутация: 40
Сообщений 238
Пол: Мужской(65)
Город: Одесса
Стиль: BMX:Street
Байк: Ns soda 12
2 авг 2014 в 02:25

"b" - это длина резьбы? не лишне уточнить

Cсылка на пост
0
 makc16

На сайте с 29.07.2011
Репутация: 364
Сообщений 2366
Пол: Мужской(29)
Город: Хорол
Стиль: MTB:DirtJumping
Байк: Dartmoor 26Player 2017+FOX 36 831
2 авг 2014 в 02:34

на днях буду укорачивать цепь, если не забуду все замерю! Втулка дартмур револьт про. 

Instagram: maksym.semeniuta || VK: dirt_jumper23 || Facebook: lifeondirt
Cсылка на пост
+1
 nwah

На сайте с 11.04.2013
Репутация: 31
Сообщений 670
Пол: Мужской(27)
Город: Керчь
Стиль: MTB:Freeride
Байк: Glory+66
2 авг 2014 в 03:17

длинна:(

Глорик 18,5 кг
Cсылка на пост
+1
 Nerzo

На сайте с 25.07.2012
Репутация: 71
Сообщений 313
Пол: Мужской(26)
Город: Россия, Шушенское
Стиль: MTB:Street
Байк: Ultimate
2 авг 2014 в 11:08

Втулка Colt Bikes SS

b-27мм

L-30мм

uW7pCz_z1g8.jpg



Cсылка на пост
+2
 Yarco

День рождения:
Будет через 4 дней
На сайте с 05.04.2012
Репутация: 23
Сообщений 51
Пол: Мужской(25)
Город: Калуш
Стиль: MTB:Street
2 авг 2014 в 16:04

https://rollingwheels.com.ua/index.php?route=product/category&path=25_140
https://stuff-shop.com/catalog/raznoe-bmx/bolty-vtulki-cinema-cr-mo-copper/



Cсылка на пост
+7
 makc16

На сайте с 29.07.2011
Репутация: 364
Сообщений 2366
Пол: Мужской(29)
Город: Хорол
Стиль: MTB:DirtJumping
Байк: Dartmoor 26Player 2017+FOX 36 831
8 авг 2014 в 23:19

Вот кому нужно с дартмур револьт про ( П.С. записи делал спеша и на коленке так что обозначения первое что в голову пришло, кому нужно смогу более нормально отчертить)
oPJI2-HbIis.jpg 

8p2VzxSD3FQ.jpg 

2NONtuKW96o.jpg 

Instagram: maksym.semeniuta || VK: dirt_jumper23 || Facebook: lifeondirt
Cсылка на пост
+3
  [ Подписаться на ответы в данной теме ]



ПОХОЖИЕ ТЕМЫ (сортировать по релевантности или по дате)
Посл. ответ Тема Автор Ответ. Просм.
11 сен 2009 в 00:00
  что скажете о втулках Dartmoor K-Force и Dartmoor X-Drive The Fallen59225
5 июн 2012 в 00:00
  про выкручивание сорваных болтов
  На страницу 1, 2
Dimkoy3439923
17 мая 2011 в 00:00
  Люфт болтов на роторе
  На страницу 1, 2
linar1st2011252
18 авг 2015 в 00:00
  ось скольжения в bmx втулках ASPIRINI24115
15 авг 2014 в 00:00
  о драйверах и втулках mtb КоЯn74810

  Список форумов ›››› Железки

  Форум:   







© 2003-2026 X-Bikers.com - горный велосипед, велотриал, фрирайд, стрит, дёрт, BMX
Размещение рекламы на сайте
Использование материалов без разрешения владельцев не допускается